【导语】
湖北成人高考网获悉,2019年湖北成人高考于10月19、20日举行,考生在备考的时候复习不仅可以巩固学习成果,还可以培养好的学习习惯,可以提高学习效率,下面
湖北成人高考网给大家整理了2018年湖北成人高考高升专理化综合考试试卷,供备考考生参考阅读。
一、选择题:1~15小题,每小题4分,共60分。在每小题给出的四个选项中,选出一项符合题目要求的。将所选项前的字母填在题后的括号内。 1.两个分子间的作用力的合力F与两分子间距离r的关系图如图所示。当分子间的距离由无穷远到无限接近的过程中( )
A.F一直为引力
B.F一直为斥力
C.当r>r0时,F为斥力;r<r0时,F为引力
D.当r>r0时,F为引力;r<r0时,F为斥力
答案:D
2.如图,一束光线自介质射向空气,在分界面处发生反射和折射。当入射角为30°时,反射光线和折射光线恰好垂直。则该介质的折射率为( )
答案:D
3.如图,质量为m的长木板在光滑水平面上以速度υ匀速运动。若将一质量为m的物块无初速地放在长木板上,经过一段时间后,物块与木板保持相对静止。在此过程中,长木板和物块组成的系统损失的机械能为( )
答案:B
4.一列简谐横波在t1=0.5 S时的波形图如图所示。已知平衡位置在x=0.5 m的A处的质点,在t2=1.5s时第一次回到A处,且其速度方向指向y轴负方向。这列波( )
A.沿x轴正向传播,波速为1 m/s
B.沿x轴正向传播,波速为2 m/s
C.沿x轴负向传播,波速为1 m/s
D.沿x轴负向传播,波速为2 m/s
答案:A
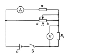
5.如图,R1和R2为定值电阻,R为滑动变阻器,E为电源。电路接通后,电流表A和电压表V均有示数。现将R上的滑片由c点向a端滑动,则( )
A.A的示数增大,V的示数减小
B.A的示数增大,V的示数增大
C.A的示数减小,V的示数增大
D.A的示数减小,V的示数减小
答案:C
6.如图,两根足够长的平行光滑金属导轨CD和FG上放置一导体杆ab,导轨一端接电源E;该装置放在一匀强磁场中,磁场方向与导轨平面垂直。则导体杆ab( )
A.所受安培力方向向左,向左做匀速运动
B.所受安培力方向向左,向左做变速运动
C.所受安培力方向向右,向右做匀速运动
D.所受安培力方向向右,向右做变速运动
答案:D
7.一质点做直线运动的速度一时间图像如图所示。则该质点( )
A.运动6s后又回到出发点
B.0~2s内加速度为3 m/s2,2~6s内加速度为1 m/s2 C.一直沿一个方向运动,0~6s内位移为l8 m D.0~2s内向前移动6 m,2~6s内向后移动12 m
答案:C
8.下列物质在存放过程中,容易被空气中的氧气氧化而变质的是( )
A.稀硫酸
B.澄清的石灰水
C.硫酸亚铁溶液
D.硝酸银溶液
答案:C
9.下列物质与C6H14互为同系物的是( )
答案:B
10.做过银镜反应后,要除去试管壁上附有的银镜,可使用的试剂是( ) A.稀硝酸 B.稀硫酸
C.稀盐酸
D.碳酸钠溶液
答案:A
11.在同温同压下,物质的量相等的N2和NO具有不同的( ) A.质量 B.体积
C.原子数
D.分子数
答案:A
12.要除去FeCl2溶液中含有的少量Fe3+和Cu2+,应选择的试剂是( ) A.锌粉 B.铁粉
C.氯气
D.氢氧化钠
答案:B
13.下列物质的水溶液不能跟二氧化碳反应的是( ) A.硅酸钠 B.偏铝酸钠
C.氯化钙
D.碳酸钠
答案:C
A.增大压强
B.降低温度
C.增加水蒸气的量
D.增加一氧化碳的量
答案:C
15.用二氧化锰与浓盐酸混合加热制氯气,此反应中若有2 mol氯化氢参与反应,则电子转移的物质的量为( )
A.0.5 mol
B.1 mol
C.2 mol
D.4 mol
答案:B
二、填空题:l6~28小题。共57分。其中第16~19小题每小题6分,第20~28小题每空3分。把答案填在题中横线上。
16.
17.一带电粒子在一个正的点电荷q附近的运动轨迹为图中实线所示,则该粒子带__________电(填“正”或“负”),粒子在图中A点的电势能__________(填“大于”或“小于”).B点的电势能。
答案:正,大于
18.一质量为5 kg的物体在恒力F作用下,从静止开始做匀加速直线运动。已知第5 s内的位移为9 m,则此物体前4 s内的位移为__________m,此恒力的大小F=__________N。
答案:16,10
19.使用多用电表测量一个阻值约为几千欧的电阻的阻值。将下面列出的测量步骤的序号,按正确的顺序填在横线上__________。 ①将选择开关旋离欧姆挡至OFF挡。 ②将选择开关旋至欧姆挡,并选择×1 K的挡位。
③将红、黑表笔接触进行调零。
④将红、黑表笔接在待测电阻两端读取数据。
答案:②③④①
20.2,5-二EF基-3-乙基己烷的结构简式为__________。
21.在FeBr3催化作用下,苯与溴发生反应,其反应类型为__________。
答案:取代反应
22.将20℃的氯化钠饱和溶液蒸发掉20g水,可以析出__________g氯化钠晶体(20℃时氯化钠的溶解度为36g)。
答案:7.2
23.在HCl、H2SO4、NH4NO3和CaCl2中,既含有离子键又含有共价键的是__________。
答案:NH4NO3
24.醋酸钠固体跟盐酸反应,其离子反应方程式为__________。
25.50 mL BaCl2溶液中所含的Cl-,可被20 mL0.5 mol/L AgNO3溶液完全沉淀,则BaCl2溶液的物质的量浓度为__________mol/L。 答案:0.1 26.常温下,相同浓度的①NaHCO3、②Na2CO3、③Na2SO4和④NaHSO4稀溶液,其溶液pH从小到大的顺序依次为__________(填序号)。
答案:④③①②
27.元素X、Y、Z都位于短周期,它们的原子序数按X、Y、Z的顺序依次增大。X和Z位于同一主族,Y和Z位于同一周期。Y的单质与2的单质相互作用,生成离子化合物Y2Z。则X原子的结构示意图为__________。Y2Z的电子式为__________。
28.实验室里制取乙烯的仪器装置如下图所示,在此装置中,圆底烧瓶里的液体是__________(填物质名称),图中标号a的仪器名称是__________。
答案:乙醇、浓硫酸温度计
三、计算题:29~31小题。共33分。解答要求写出必要的文字说明、方程式和重要演算步骤。只写出最后答案。而未写出主要演算过程的。不能得分。
29.如图,间距ι=10 cm的平行光滑金属直导轨水平放置在磁感应强度B=0.5 T的匀强磁场中,磁场方向竖直向下;在平行导轨的左端a、b两点间接入两个相同电阻,阻值R=0.8Ω;电阻为r=0.1Ω的导体滑杆cd放在导轨上且与其垂直。导轨电阻不计。当cd杆以υ=2 m/s向右匀速运动时,求 (1)通过cd杆的电流; (2)使cd杆保持匀速运动,应对它施加外力的大小和方向。
30.如图,AB为光滑固定的{圆弧面,其下端B与一木板的上表面光滑连接,木板可以在光滑水平面上自由移动,其左端固定一个轻弹簧。一小物块自A点由静止沿圆弧面下滑,滑上木板后压缩弹簧。若小物块和木板的质量均为m=1 kg,圆弧半径R=0.2m,重力加速度g取10 m/s2。 求当弹簧被压缩到最短时木板的速度和小物块的动能。
31.28.6g Na2CO3·10H2O与质量分数为36.5%(密度1.19g/cm3)的盐酸完全反应,消耗这种盐酸溶液多少毫升?在标准状况下,反应生成多少升二氧化碳?
